Универсальный измеритель-регулятор температуры, давления восьмиканальный ОВЕН ТРМ 138
-200x180x90x575.jpg)





Измеритель-регулятор ОВЕН ТРМ 138 предназначен для измерения, регистрации и регулирования температуры, давления либо другого физического параметра, одновременного управления несколькими (до 8-ми) исполнительными механизмами, а также для регистрации измеренных параметров на ЭВМ.
Терморегулятор применяется в многозонных печах, в системах защитной автоматики.
Прибор выпускается в щитовом корпусе типа Щ4.
Функциональные возможности регулятора ОВЕН ТРМ 138
-
ВОСЕМЬ УНИВЕРСАЛЬНЫХ ВХОДОВ* для подключения от 1 до 8 датчиков разного типа в любых комбинациях, что позволяет одновременно измерять и контролировать несколько различных физических величин (температуру, влажность, давление и др.)
-
ВЫЧИСЛЕНИЕ ДОПОЛНИТЕЛЬНЫХ ВЕЛИЧИН:
- средних значений от 2 до 8 измеренных величин;
- разностей измеренных величин;
- скорости изменения измеряемой величины.
-
ДО ВОСЬМИ КАНАЛОВ РЕГУЛИРОВАНИЯ ИЛИ РЕГИСТРАЦИИ температуры, давления или других измеренных или вычисленных величин:
- регулирование по двухпозиционному закону;
- регистрация на аналоговом выходе (ток 4...20 мА).
-
ОТ 1 ДО 8 ВСТРОЕННЫХ ВЫХОДНЫХ УСТРОЙСТВ различных типов в выбранной пользователем комбинации
-
РЕЖИМ РУЧНОГО УПРАВЛЕНИЯ выходными устройствами
-
КОНФИГУРИРОВАНИЕ функциональной схемы и установка параметров:
- кнопками на лицевой панели прибора;
- на ПК с помощью программы-конфигуратора.
-
СТАНДАРТНАЯ КОНФИГУРАЦИЯ — удобный выбор из четырех возможных
-
ВСТРОЕННЫЙ ИНТЕРФЕЙС RS-485 (протокол ОВЕН, Modbus ASCII/RTU**)
* Для измерения давления, влажности, расхода и др. величин используются датчики с унифицированным выходным сигналом тока 0...5 мА, 0(4)...20 мА или напряжения 0...50 мВ, 0...1 В.
Бесплатно: ОРС-сервер, драйвер для работы со SCADA-системой TRACE MODE; библиотеки WIN DLL
** Оговаривается при заказе
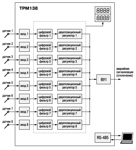
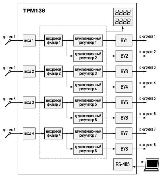
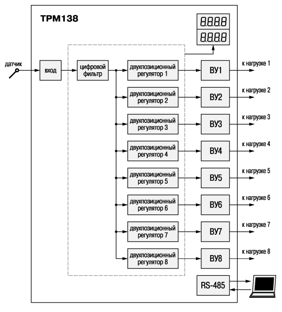
Функциональная схема прибора (стандартные конфигурации)

Функциональная схема ТРМ138 с восемью входами для подключения датчиков, 8-ю двухпозиционными регуляторами, формирующими сигнал «Авария», и одним выходным устройством (аналог УКТ38). Может использоваться в качестве аварийного сигнализатора в многозонных печах в пищевой, металлургической и других отраслях промышленности

Функциональная схема ТРМ138 с четырьмя входами для подключения датчиков, 8-ю двухпозиционными регуляторами, формирующими сигнал управления, и 8-ю выходными устройствами (аналог ТРМ34). Может использоваться для контроля температуры и двухступенчатого управления процессом нагрева в технологическом оборудовании, содержащем до четырех зон нагрева и требующем быстрого разогрева при начале работы (в хлебопекарных печах, термопластавтоматах, экструдерах и др.)

Функциональная схема ТРМ138 с восемью входами для подключения датчиков, 8-ю двухпозиционными регуляторами, формирующими сигнал управления, и 8-ю выходными устройствами (аналог ТРМ38). Может использоваться в качестве восьмиканального регулятора температуры либо другой физической величины в многозонных печах туннельного типа, в хлебопекарном производстве и другом технологическом оборудовании

Функциональная схема ТРМ138 с одним входом для подключения датчика, 8-ю двухпозиционными регуляторами, формирующими сигнал управления и 8-ю выходными устройствами.
Может использоваться для контроля температуры одним датчиком и поддержания по двухпозиционному закону восьми независимых уставок.
Обозначение при заказе:
